南北仪器专业提供实验室仪器设备一站式解决方案
ABL剥离力测试台
功能
ABL-90°剥离力zhuan用测试台,专为NK、HF系列推拉力计配备,可组合成不同用途的试验机台,专门用于试验PC板上铜箔电路附着力或锡箔、铝箔、胶布等。黏着于物体表面牢度。试验时以垂直之角度剥离试样。以测得实际强度。
特点
9659彩集团· 手动操作,梯型螺杆传动,操作简单稳定。
· 可将本机架安装于桌(台)面使用,使机架更加稳固。
规格参数
· 有效行程: 150mm
· z大负荷:500N
9659彩集团· 长 × 宽× 高:350×210×450 mm
· 净重:19kg
· 测试区有效面积:105×100 mm ,z大可达105×152mm
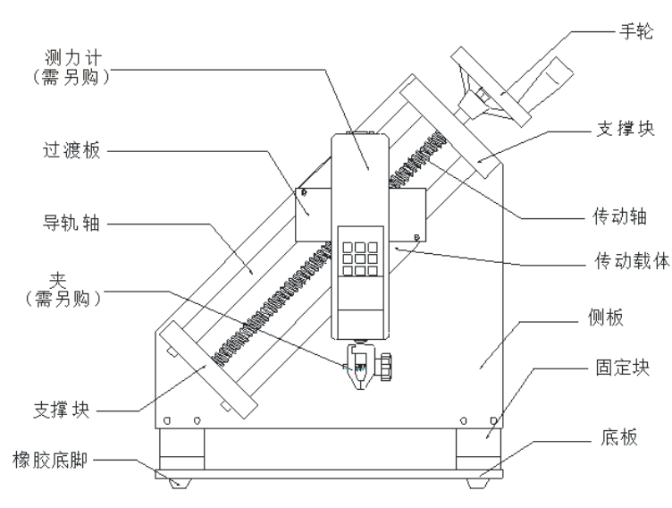
结构示意图


微信公众号

京东旗舰店

天猫店铺
国内销售
电话:400 098 6966
国际贸易
9659彩集团电话: +86-371-60310701
售后服务
9659彩集团电话:+86-371-60153599
郑州地址一:郑州市、金水区、北环路73号、瀚海北金A座14层
郑州地址二:郑州市、金水区、北环路72号
9659彩集团北京地址:北京市丰台区贾家花园15号院7号院一层西侧
海外进出口贸易(离岸中心):ROOM 803, CHEVALIER HOUSE, 45-51 CHATHAM ROAD SOUTH, TSIM SHA TSUI, KOWLOON, H K NANBEI INTERNATIONAL GROUP LIMITED
9659彩集团上海地址:上海市、普陀区、长寿路76号
工厂地址:沁阳市未来路、省科学院沁阳科创园区