9659彩集团

GYJ水果硬度计测试支架

GYJ水果硬度计测试支架

产品型号:GYJ

负责人:张先生

QQ:380888081

手机:13837159053

产品详情

GYJ水果硬度计测试支架

产品概述:
GYJ水果硬度计支架,专为AGY-1、AGY-2、AGY-3三
种型号的水果硬度计配备,进行准确的苹果、香蕉、梨、西
瓜等多种水果硬度测试。

特点:
1. 操作简单稳定,适合室内桌上测试使用;
2. 采用螺杆传动技术;
3. 位移平稳,测试精度高。

产品参数:
1. 测试有效行程:15mm;
2. 外形尺寸(长x宽x高):188x200x336mm;
3. 净  重:8.5kg。

测试:
1.测试时,将水果硬度表装到机架上,将水果放于工作台上,旋转机台上的手轮柄,使水果硬度表头压入水果内即可。
2.水果硬度表所显示的数值即为所硬度值。


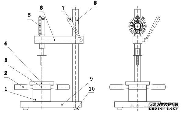
结构图:


您可以通过在线留言联系我们: